Hírek
2016. Március 15. 17:00, kedd |
Helyi
Forrás: HVG
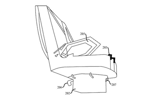
Ennél bizarabb autós kiegészítőt még nem akartak szabadalmaztatni
Mi sem hittünk a szemünknek, amikor legelőször megláttuk.
Sokan viccnek gondolták, amikor 2013-ban a Honda bejelentette, a leginkább családbarát modelljéhez, az Odyssey-hez bárki megrendelheti a világ első beépített porszívóját. Aztán gyorsan kiderült, a dolog mégis igaz, így azóta ha autóipari furcsaságokról hall az ember, kétszer is meggondolja, mennyire vegye félvállról a dolgot. Most pont ez a helyzet egy február elején bemutatott szabadalommal, ami valljuk be, elsőre elég meredeknek tűnik.
Az Egyesült Államok Szabadalmi és Védjegy Hivatala még február 4-én mutatta be azt a szabadalmi bejelentést, ami egy autós WC-t takar. A kérelmet a kaliforniai Danisha Lashune Taylor nyújtotta be, találmányát pedig egy felnőttek és gyerekek számára fejlesztett "közúti biliként" aposztrofálta. A szerkezet (szerencsére) kivehető a kocsiból, az elemei – az automata fedél, az automata öblítőtartály, a folyadéktároló tartály, leeresztő modul – pedig külön-külön is eltávolíthatók.
Ennek köszönhetően ha bármelyik eleme sérül, az könnyen (és olcsón) cserélhetővé válik, így a karbantartása is költséghatékony. A feltalálója szerint az eszköznek köszönhetően sokkal kevesebbszer kellene megállni egy út során.
Ezek érdekelhetnek még
2026. Május 12. 17:02, kedd | Helyi
Május 14-én Kiskunfélegyházára érkezik a Tour de Hongrie mezőnye
2026. május 14-én Kiskunfélegyházán halad át a 47. Tour de Hongrie nemzetközi kerékpárverseny mezőnye. A versenyzők várhatóan 14:30 körül érkeznek Tiszaalpár felől, majd Fülöpjakab irányába folytatják útjukat.
2026. Május 12. 14:03, kedd | Helyi
Váratlanul elhunyt dr. Gulyás Zsolt rendőr dandártábornok
Elhunyt dr. Gulyás Zsolt rendőr dandártábornok, a Bács-Kiskun Vármegyei Rendőr-főkapitányság vezetője.
2026. Május 11. 09:02, hétfő | Helyi
Megkezdődött a pályaszerkezet cseréje a Kőrösi utcában
Kiskunfélegyháza Város Önkormányzata tájékoztatja a lakosságot, hogy a Kőrösi utca II. ütemének kivitelezési munkálatai újabb szakaszhoz érkeztek, megkezdődött a pályaszerkezet cseréje
2026. Május 08. 12:05, péntek | Helyi
A halott nő nevében írt hetekig a gyilkos
Miután megölte, majdnem két hétig még vele élt. Aztán elmenekült, majd pár hónappal később visszatért a tetthelyre, ahol a padláson bújt el. Végül az buktatta le, hogy a spájzból folyamatosan ette a barackbefőttet.
